 
          
                    光纖激光切割機的迅速普及,使客戶在用光纖激光切割機切割圓孔時得心應手,光纖激光切割機憑借著其斷面光滑、孔徑可更改、加工靈活等顯著優勢成為了切割圓孔的最佳
Read More.. 
          
                    嵌入式系統是計算機技術、通信技術、半導體技術、微電子技術、語音圖像數據傳輸技術,甚至傳感器等先進技術和具體應用對象相結合后的更新換代產品,反映當代最新技
Read More.. 
          
                    醫療數字化、信息化是全球醫療器械技術發展的主要方向,是實現醫療“無損化”、“精確化”最重要的技術保證。數字醫療裝備是醫療信息化的基礎,數字化醫療技術是現
Read More.. 
          
                    引言:自動化機械手是機械手領域比較籠統的表達,其實現在的機械手就已經包含了多種自動化元素。只要是通過控制系統能夠自行執行對應操作指令的機械手都可以統稱為
Read More.. 
          
                    ABS塑料電鍍制品不僅可以實現很好的金屬質感,而且能減輕制品重量,在有效改善塑料外觀及裝飾性的同時,也改善了其在電、熱及耐蝕等方面的性能。同時,將塑料表面披覆
Read More.. 
          
                    焊縫產生氣孔的因素,一般常見的有以下三種:1電流問題常見焊縫產生氣孔多半是因為電流過大。焊縫的形狀多種多樣:如平焊、立焊、橫焊、仰焊、平角焊、立角焊,母材厚
Read More.. 
          
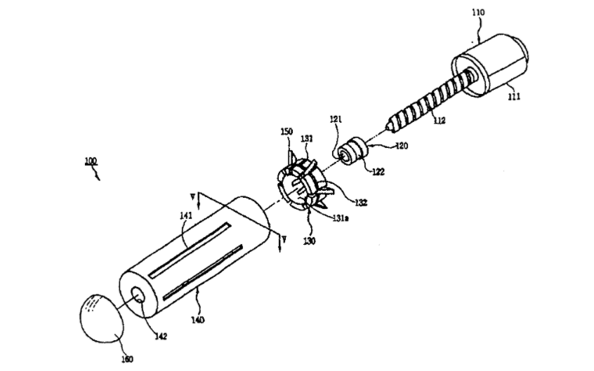
                    通過吞咽,可在人腸道內以螺旋方式行走的膠囊醫療微型機器人的研究有了突破性進展。我國科學家目前已研制出樣機,并在離體豬腸中取得良好的實驗效果。 體內介入檢查
Read More.. 
          
                    得益于中國政府新醫改的推動和人民大眾對健康保健的重視,以及家用與醫用市場的不同特性,中國便攜式/家庭醫療電子市場正快速而平穩地成長。 未來3年,中國便
Read More.. 
          
                    1,自動化基本概論電氣工程及其達高科技|自動化|涉及電力電子技術,計算機技術,電機電器技術信息與網絡控制技術,機電一體化技術等諸多領域,是一門綜合性較強的學科
Read More.. 
          
                    一、自動化裝配線的電機、鏈條、減速器可以說是整個自動化裝配線設備的核心部件;相對于整個自動化裝配線設備的零部件,需要了解一些基本的自動化裝配線維護方法。
Read More..