金屬薄壁管零件具有結構緊湊、重量輕及節省材料等特點,在生產中得到廣泛應用。由于零件壁薄、強度弱、剛性差,加工中很容易變形,質量難以保證。“變形管”是典型的薄壁管件,在該零件實際生產過程中,通過設計專用工裝夾具,制訂合理可行的加工工藝等措施,以減少加工中的變形,保證工件加工質量,提高加工效率。
壁薄是薄壁管零件的突出特點,一般采用數控車削的方式對其進行加工,影響薄壁管零件加工精度的因素很多,歸納起來主要有以下幾個方面:
(1) 受熱變形。工件加工過程中會產生大量的切削熱,導致工件產生熱變形,使其尺寸精度難于控制。因此,車削加工時要控制切削溫度,減小切削變形以減少切削熱的產生,同時增大刀尖散熱面積,充分使用冷卻液,將切削熱及時擴散[1]。
(2) 振動變形。工件在切削力(主要是徑向切削力)作用下易產生振動變形,影響工件的尺寸和位置精度以及表面粗糙度。為減小振動變形,應提高工件和刀具的剛度,如減少刀具懸伸長度、增大刀桿截面積等,同時選用剛性好、功率大的機床。
(3) 受力變形。零件由于壁薄,在夾緊力作用下容易產生變形,影響工件尺寸和形狀精度。
針對以上影響因素,筆者將通過變形管的具體加工實例來分析提高薄壁管零件加工精度和效率的措施。
2.1 變形管的作用及工作原理
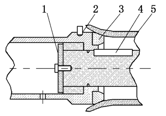
目前動車及城鐵的緩沖器廣泛采用變形管與橡膠緩沖器相結合的結構形式,以此來保證列車在正常牽引制動工況下的能量吸收。變形緩沖裝置結構示意圖如圖1所示。變形管5是機車車鉤壓潰緩沖裝置重要的安全零件,是一種破壞性的能量吸收元件,安裝在中間車導向桿上,在管口部位安裝一個加壓塊3,通過對管子擴口的變形來吸收能量。一般變形管配合橡膠緩沖器一起使用,列車正常聯掛時,沖擊能量由橡膠緩沖器吸收,變形管不起作用,只有在高速度的沖擊時變形管變形,管體壓潰,吸收撞擊能量,產生軸向移動,并觸碰動作指示釘2,才能有效降低列車的縱向沖擊,保證車底架不產生永久變形,提高列車的運行性能。圖1所示緩沖器要求變形管強度精確控制在一較小的范圍內,理論上變形力在全行程應保持一個恒定值[2],因此對變形管的材料、形狀和尺寸精度要求很高。

1-防松板;2-動作指示釘;3-加壓塊;4-導向鍵;5-變形管
圖1 變形緩沖裝置結構示意圖
2.2 變形管零件結構分析
變形管零件圖如圖2所示。其主要加工表面及技術要求是:①外圓面:直徑為Φ103 mm,表面粗糙度為Ra3.2 μm,可微見加工痕跡,需要精車實現;②內孔面:直徑為Φ95 mm,表面粗糙度為Ra3.2 μm,粗車后再精車,未注圓角R0.5;③加工尺寸未注公差按照GB/T 1804-2000《一般公差 未注公差的線性和角度尺寸公差》中的m級執行;④Ⅰ類零件,整體磁粉探傷,不允許有裂紋和工藝缺陷。
從零件圖和技術要求來看,此零件為典型的薄壁管零件,加工時必然會遇到薄壁管共同的加工問題。綜合考慮,為減少工件加工變形,使工件裝拆方便,避免工件振動刀具崩刃,有必要設計和制作一專用夾具,使工件定位快捷準確。夾具設計力求結構簡單通用,制造方便。

圖2 變形管零件圖
3.1 工裝夾具的設計原則
(1) 夾具應有足夠的強度和剛度。工件加工過程中,夾具體要承受較大的切削力和夾緊力[3]。夾具體需有一定的壁厚,所以要對夾具體的強度和剛度進行校核,保證可以加工出合格的變形管零件。
(2) 在機床上安裝穩定可靠。夾具在機床主軸上安裝,夾具安裝基面與主軸相應表面應有較高的配合精度,并保證夾具體安裝穩定可靠。保證工件在加工過程中位置穩定不變、震動小,減少工件夾緊變形;采用徑向夾緊,增大夾具與工件的接觸面積,零件承受徑向夾緊力大小均勻、適當。
(3) 工裝夾具通用性強,結構力求簡單、操作方便,省力安全,便于制造和維修。
3.2 工裝夾具的設計方案
通過對零件的分析,要求設計出一套既可以外夾也可以內卡的專用夾具。當加工變形管外輪廓時,用專用夾具撐持變形管內壁;當加工變形管內孔時,裝夾變形管外圓。設計一個與內外圓周接觸面較大的夾爪,使用原有機床上的卡盤,將夾爪安裝在卡盤上,沿用機床本身的氣壓夾緊,增大夾具與工件的接觸面積,減少變形管的變形。專用工裝夾具的使用如圖3所示。
3.3 工裝夾具主要參數確定
本文設計的專用夾具以車床的切削力和薄壁管受力變形的極限為參考標準,對夾具的各項參數進行確定。由參考文獻[4]相關內容可知,車床在工作時對工件的切削力由以下公式計算:
FC=9.81CFcapxFcfyFcvcnFcKFc.
(1)
其中:FC為主切削力,N;ap為背吃刀量,mm;f為進給量,mm/r;vc為主軸轉速,r/min;指數xFc、yFc、nFc和修正系數KFc及系數CFc可由文獻[4]中查表得到。由于變形管材料選用45鋼,刀具使用硬質合金刀具,可以查出CFc=270,xFc=1.0,yFc=0.73,nFc=1;取vc=800 mm/r,f=0.2 mm/r,ap=1 mm,查表得出KFc=1.06。將相關參數代入式(1),可計算出FC=670 000 N。薄壁管厚度為6 mm,管外徑為Φ142 mm,材料45鋼,破壞時的最大強度p按65.65 MPa計算,由
可得薄壁管有效受力面積S大約為10 205 mm2,設計夾具的長度為100 mm,扇形面積約為3 400 mm2,有效總角度為90°,因此每個夾具扇形角為30°,扇形內直徑為Φ130 mm,厚度可設計成20 mm。

圖3 變形管的加工及所使用的專用夾具
設計變形管加工工藝時,應從毛坯、刀具參數、切削用量、加工工序等方面進行綜合考慮[5]。
4.1 毛坯的選擇
變形管零件大批量生產,選用Φ115×30 mm管材作為毛坯,材料45鋼。下料后首先進行加熱擴口,確保各處有加工余量,按照GH-1203—2009《擴張式壓潰裝置驗收技術條件》的要求進行熱處理,對每批次經熱處理后的變形管抽樣進行變形力試驗,測試結果合格后方可對該批次變形管的毛坯進行加工。
4.2 刀具的選擇
薄壁管零件在車削的過程中,合理使用刀具的幾何參數對車削時產生的熱變形、切削力的大小還有工件表面微觀質量都是非常重要的。主要考慮以下幾點的影響:①前角γ0的影響:前角增大切削力變小,切削變形和摩擦力減小,但前角過大,楔角減小,刀具強度減弱,導致刀具散熱變差,磨損加快;②后角α0的影響:刀具后角增大,刀具摩擦力變小,切削力也變小,但后角過大,會減弱刀具強度;③主偏角kr的影響:改變主偏角的大小可以調整徑向切削分力和軸向切削分力之間的比例,主偏角增大時,徑向切削分力減小,軸向切削分力增大,車薄壁零件內外圓,一般選取較大主偏角;④其他參數的影響:精車薄壁管零件時,要求刀柄剛度高,車刀的修光刃不能太長,車刀刀刃一定要鋒利。
根據以上分析,加工變形管選用的刀具參數如下:
外圓車刀:主偏角kr為90°~93°;后角α0為14°~16°;前角γ0為10°~20°。
內孔鏜刀:主偏角kr為90°~95°;前角γ0為20°;后角α0為14°~16°。
4.3 切削用量選擇
切削用量的選擇如下:①內孔粗車:主軸轉速350 r/min~450 r/min,進給量0.1 mm/r~0.2 mm/r,留精車余量0.1 mm~0.3 mm;②內孔精車:主軸轉速550 r/min~800 r/min,進給量0.05 mm/r~0.15 mm/r,采用一次走刀加工完成;③外圓粗車:主軸轉速400 r/min~500 r/min,進給量0.2 mm/r~0.3 mm/r,留精車余量0.2 mm~0.4 mm;④外圓精車:
主軸轉速700 r/min~900 r/min,進給量0.08 mm/r~0.15 mm/r,采用一次走刀加工完成。
4.4 加工工序設計
加工工序設計如下:①三爪裝夾Φ115 mm外圓(毛坯),調正,車中心架用工藝臺Φ108±0.5 mm,寬80 mm,距擴口端面55 mm;②三爪裝夾Φ115 mm外圓,上中心架,調正。車平端面,粗車內孔,全部見光即可;③撤中心架,三爪撐持內孔,尾針頂緊,粗車外圓,見光即可;④調頭,夾大頭外圓,上中心架,調正。齊總長至尺寸;⑤調頭,夾小頭外圓,上中心架,調正。精車至尺寸。
經過多次試驗,筆者采用以上工藝方法和設計的專用工裝夾具,較好地解決了薄壁零件的加工變形問題,縮短了工件裝夾定位時間,提高了工作效率并保證了零件加工質量,減輕了操作者的勞動強度,經濟效益十分明顯。