
  方向控制閥簡稱方向閥,主要用來通斷油路或切換油流的方向,以滿足對執行元件的啟、停和運動方向的要求。按其用途可分為兩大類:單向閥和換向閥。
 ?。?)單向閥
  單向閥又稱止回閥,它的功用是使油液只能單向流過。根據閥芯結構不同,單向閥可分為球閥式和錐閥式兩種。圖5—1所示出為兩種單向閥的結構及單向閥的符號。球閥式閥芯結構簡單,但容易因摩擦而使密封性變差,只用于低壓場合。錐閥式應用較多,且密封性較好。根據閥中通道情況,又可分為直通式和直角式。直通式液流阻力小,更換彈簧也較方便,一般采用管式連接;而直角式則即可采用管式連接。又可采用板式連接或法蘭連接。
  單向閥中彈簧的主要作用是在沒有油流通過或油液倒流時可幫助閥迅速關閉。但它同時也增加閥開啟時的阻力,并成為油液流過單向閥時產生壓力損失的主要部分。在不影響閥靈敏可靠的同時,就應把彈簧做得軟些?!话銌蜗蜷y開啟壓力是0.035~0.05MPa,全部流量通過時的壓力損失大約是0.1~0.3MPa。
  圖5—1單向閥
  1—閥體;2—彈簧;3—閥芯;4—閥座
  (要求:動畫顯示兩種單向閥正向導通,反向截至的工作過程,動畫可參見第五章動畫資源“5-1直通式單向閥(動畫按鈕可去掉)及5-2直角式單向閥”)
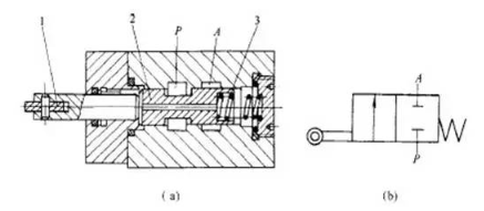
  在某些場合,需要單向閥允許油流反向通過,這時即采用液控式單向閥。液控式單向閥結構和符號如圖5—2所示。它主要由直角單向閥和控制活塞兩部分組成。當下蓋7上的控制油口元壓力油時,它僅是一個普通單向閥,只允許油液從A流向B;當控制油口通人壓力油時,則控制活塞就被頂起,通過頂桿使閥芯1強制打開,允許油液由B向A反向流過。
  圖5—2液控單向閥
  1—單向閥閥芯;2—彈簧;3—上蓋;4—閥體;5—單向閥閥座;6—控制活塞;7—下蓋
 ?。ǘQ向閥
  換向閥的作用是利用閥芯和閥體的相對運動來接通、關閉油路或變換油液通向執行元件的流動方向,以使執行元件啟動、停止或變換運動方向。
  (1)換向閥分類
  換向閥按結構分有轉閥式和滑閥式;按閥芯工作位置數分有二位、三位和多位等;按進出口通道數分有二通、三通、四通和五通等;按操縱和控制方式分有手動、機動、電動、液動和電液動等;按安裝方式分有管式、板式和法蘭式等。
 ?、俎D閥
  圖5—3所示為轉閥式換向閥的換向原理和圖形符號圖。它變換油液的流向是利用閥芯相對閥體的旋轉來實現的。此閥有三個工作位置,四個通口,且為手動操縱,故稱作三位四通轉閥式手動換向閥。轉閥的密封性能較差,徑向力又不平衡,一般用于低壓、小流量的系統中。
  圖5—3轉閥換向原理
 ?、诨y
  圖5—4所示為滑閥式電磁換向閥的換向原理及相應的圖形符號圖。它變換油液的流動方向是利用閥芯相對閥體的軸向位移來實現的。換向閥變換左、右位置,即使得執行元件變換了運動方向。此閥因有兩個工作位置,四個通口,閥芯靠電磁鐵推力實現移動,所以稱作二位四通滑閥式電磁換向閥。
  圖5—4二位四通電磁換向閥原理圖
  (2)換向閥的“位”與“通”
  位:指閥相對于閥體停留的工作位置數,用圖形符號表示即為實線方框。
  通:指閥連接主油路的通口數。用職能符號表示。
  圖5—5列出了幾種換向閥(滑閥式)的結構原理圖及相應的職能符號。換向閥主要由閥體及閥心等組成,閥體內具有幾條環形通道,閥心上有幾個臺肩與之相配合,以使某些通道連通,而另一些通道被封閉。當閥心在閥體內作軸向移動時,可改變各通道之間的連通關系。從而改變液流通過閥后的方向。
  圖5—5換向閥的工作原理
  a)二位二通換向閥;b)二位三通換向閥;c)三位三通換向閥;d)二位四通換向閥;
  e)三位四通換向閥
 ?。?)滑閥的操縱方式
  常見的滑閥操縱方式示于圖5-6中。
  圖5—6滑閥的操縱方式
  (a)手動式;(b)機動式;(c)電磁動(;d)彈簧控制;(e)液動;(f)液壓先導控制;(g)電液控制
  (4)液壓卡緊現象
  由于滑閥式換向閥閥芯與閥體孔的加工誤差或裝配時中心線不重合,進入滑閥配合間隙中的壓力油將對閥芯產生不平衡的徑向力,而使閥芯的偏心加大,最終使閥芯緊貼在孔壁上,使得操縱滑閥運動發生困難,甚至卡死,這種現象稱作液壓卡緊。下圖5—7是液壓卡緊原理圖。
  圖5—7液壓卡緊原理
  (5)換向閥的中位機能
  三位換向滑閥的左、右位是切換油液的流動方向,以改變執行元件運動方向的。其中位為常態位置。利用中位P、A、B、T間通路的不同連接,可獲得不同的中位機能以適應不同的工作要求。表5-2所示為三位換向閥的各種中位機能以及它們的作用、特點。
  表5—2三位換向閥的中位機能
  滑閥機能符號
  中位油口狀況、特點及應用
  O型
  P、A、B、T四油口全封閉,液壓缸閉鎖;可用于多個換向閥的并聯工作
  H
  四油口全串通;活塞處于浮動狀態,在外力作用下可移動;泵卸荷
  Y
  P口封閉,A、B、T三油口相通;活塞浮動,在外力作用下可移動;泵不卸荷
  K
  P、A、T三口相通,B口封閉;活塞處于閉鎖狀態;泵卸荷
  M
  P、T口相通,A、B口均封閉;活塞不動;泵卸荷,也可用多個M型換向閥并聯工作
  X
  四油口處于半開啟狀態,泵基本上卸荷,但仍保持一定壓力
  P
  P、A、B三油口相通,T口封閉;泵與缸兩腔相通,可組成差動回路
  J
  P與A口封閉,B與T口相通,活塞停止,外力作用下可向一邊移動;泵不卸荷
  C
  P與A口相通,B與T口皆封閉;活塞處于停止位置
  N
 P和B口皆封閉,A與T口相通;與J型換向閥功能相似,只是A與B口互換了,功能也類似
  U
  P和T口均封閉,A與B口相通;活塞浮動,在外力作用下可移動;泵不卸荷
  (6)典型換向閥的示例
 ?、偈謩訐Q向閥
  圖5-8(b)為自動復位式手動換向閥,放開手柄1、閥芯2在彈簧3的作用下自動回復中位,該閥適用于動作頻繁、工作持續時間短的場合,操作比較完全,常用于工程機械的液壓傳動系統中。
  如果將該閥閥芯右端彈簧3的部位改為可自動定位的結構形式,即成為可在三個位置定位的手動換向閥。圖5-8(a)為職能符號圖,(b)為結構示意圖
  圖5—8手動換向閥
 ?。╝)職能符號圖?。╞)結構圖
  1—手柄;2—閥芯;3—彈簧
  ②機動換向閥
  圖5-9所示為二位二通機動換向閥的結構和圖形符號圖。它是靠擋鐵(圖中未示出)接觸滾輪l將閥芯壓向右端,又當擋鐵脫離滾輪時閥芯在彈簧作用下回到原位來實現換向的。
  圖5—9機動換向閥
  ③電磁換向閥
  圖5—10為二位三通板式交流電磁換向閥的結構和圖形符號圖。當電磁鐵通電時,即推動推桿將閥芯頂向右端;又當電磁鐵斷電時,閥芯在彈簧的作用下回到左端,從而實現了油路的換向。
  圖5—10二位三通電磁換向閥
  圖5-11所示為35D-25B型三位五通板式交流電磁換向閥的結構和圖形符號圖。當左、右電磁鐵均斷電時,其閥芯在兩端彈簧的作用下處于中位(圖示位置);當左電磁鐵通電時,即推動推桿將閥芯頂向右端;當右電磁鐵通電時,即推動推桿將閥芯頂向左端,從而實現了油路的換向。
  圖5—11三位五通電磁換向閥
  ④液動換向閥
  圖5-12所示為液動換向閥的結構圖和圖形符號圖。當控制油口K1、K2均無控制壓力油通入時,閥芯在兩端彈簧作用下處于中位(圖示位置);當K1通入控制壓力油、K2通回油時,閥芯在液壓力作用下克服右端彈簧力移向右端;反之,當K2通控制壓力油、K1通回油時,閥芯被推向左端,從而實現了油路的換向。
  圖5—12三位四通液動換向閥
 ?、蓦娨簞訐Q向閥
  圖5-13所示為電液換向閥的結構圖和圖形符號圖。當電磁閥左端電磁鐵通電時,電磁閥閥芯被推向右端(左位接通),控制壓力油通過電磁閥流入液動閥閥芯的左端,推動液動閥閥芯向右移動,其右端的油液經電磁閥回油箱,此時主油路P口與A口接通,B口與T口接通。反之,電磁閥右端電磁鐵通電時,控制壓力油經電磁閥進入液動閥閥芯的右端,推動液動閥閥芯向左移動,其左端油液經電磁閥回油箱,使主油路P口與B口接通,A口與T口接通。如電磁閥左、右電磁鐵均斷電,則電磁閥閥芯處于中位,控制壓力油被阻斷,不能進入液動閥,且因電磁閥的中位機能為Y型特性,使液動閥兩端的油液均經電磁閥中位泄回油箱,因此液動閥也在其兩端彈簧的作用下處于中位,主油路P、T、A、B口均不相通。
圖5—13三位四通電液換向閥