摘要:電子焊接生產中有較多兩人合作才能完成的情況,比如插頭/插座焊接,需要一人拿著插頭/插座,另外一人拿著電線完成焊接。電路板焊接也經常出現翻轉、移動等操作以求得到較好工作位置的情形。因此,設計一種電子焊接生產輔助機械手臂以及末端夾具,能夠夾持被焊接件,其末端位置、姿態能夠被操作者輕松變動,同時該位置能夠很好保持,具有一定阻尼,滿足操作者焊接需求。
在電子焊接小批量生產過程中,某些工藝需兩人配合才能完成,比如插頭/插座焊接。操作者A拿著插頭/插座,操作者B拿著焊槍和電纜線完成焊接。操作者A根據焊接位置變換和操作者B的要求改變方位。另外,在電路板焊接過程中,電路板需要經常翻轉或者變換一定姿態以方便操作者完成焊接動作。現在普遍采用電子焊接輔助工作臺,如圖1所示,用兩個夾子將電路板固定,但其翻轉角度和位置有限。
設計一種電子焊接輔助機械手臂,具備的主要功能是其末端能夠很好地夾持住插頭、插座、電路板等。操作者能夠很方便地改變其位置、姿態。同時,整個機械臂具有一定可調校的阻尼,這樣在焊接操作過程中,被焊接件不會輕易移動或者是轉動。

圖1 電子焊接輔助工作臺
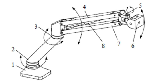
整個設計過程參考了現在比較普遍的電腦顯示器支架相關結構。主體機械臂具有5個自由度,能夠滿足末端夾持機構的上下、左右移動以及翻轉。末端夾持件會經常變換,因此,在機械臂末端設計一個可以快速更換結構。
如圖2所示,該機械臂包含5個自由度,第一關節、第二關節為兩個平行的轉動關節,實現整個機械臂在水平面的大范圍調整。第三關節為平行四邊形機構的轉動關節,相當于人手臂的肘關節,可調節末端夾具的位置。平行四邊形關節的優點是可增加結構的剛度,減小變形,提高機械臂的運動精度。當只有第三關節運動的時候,末端夾具只做平移運動,可以保持其姿態不變[1]。第四關節做水平面擺動,第五關節做上下擺動。該機械臂可保證末端夾具被移動到需要的位置,并調整至需要的姿態。

1.底座 2.第一關節 3.第二關節 4.第三關節上支臂 5.第四關節6.第五關節 7.第三關節下支臂 8.氣彈簧
圖2 機械臂主體結構
電子焊接輔助機械臂另外一個重要的功能是在末端夾具調整至需要的位置和姿態后,能夠自保持,具有一定阻尼。這樣,操作者在完成焊接動作的時候,整個機械臂不會晃動。
工業機器人控制系統通常是以單軸或多軸機器人的運動協調控制為目的。其每一個關節都有一個伺服機構,多個獨立的伺服系統組成一個多變量的控制系統[2]。這樣便能實現機械臂末端位置控制與保持。但是電子焊接生產輔助機械臂一般需要固定在焊接工作臺上,占用空間必須小,操作方便。因此,位置保持功能采用機械結構實現,主要思路便是在各個關節增加阻尼機構,關節轉動的時候需要一定的外力,操作者焊接過程所施加的力不足以讓機械臂各關節產生運動。
第一、第二、第四、第五關節采用塑料套筒/墊片+緊定螺栓方式。
舉例說明,如圖3所示,第三關節、第四關節采用螺栓連接,但是在第四關節上下面分別開了一定深度的沉孔。剛好可以放入一個墊片,該墊片采用塑料制作,具有一定柔軟度。塑料墊片可以增加兩個關節之間的摩擦,通過調整螺栓松緊度來調節關節之間的阻尼大小。

1.第三關節 2.螺栓 3.塑料墊片 4.第四關節 5.螺母
圖3 采用塑料套筒/墊片+緊定螺栓連接關節
第三關節主要作用是調整機械臂的高度,同時也要具備保持位置的功能,即類似轎車后備箱“隨意停”功能,采用氣彈簧實現。氣彈簧又被稱為支撐桿、調角器、氣壓棒或阻尼器,是一種具有支撐、緩沖、制動、高度調節和角度調節等功能的配件。該配件在醫療設備、汽車、家具、紡織設備、加工行業等領域被廣泛使用。氣彈簧主要有自由型氣彈簧、自鎖型氣彈簧、自平衡式氣彈簧、牽引式氣彈簧、阻尼器等類型[3]。
該設計在第三關節上支臂和下支臂之間設置自平衡式氣彈簧。自平衡式氣彈簧在活塞桿受壓達一定值時可打開氣閥,活塞在缸筒自由運動,當活塞兩端壓力平衡時通過彈簧力使氣閥自動關閉,活塞停留,達到自平衡。上支臂、下支臂、連接頭構成轉動的四連桿機構,調節機械臂高度位置時,在自平衡式氣彈簧的作用下,末端夾具可在任意高度位置上自由停留[4]。
機械臂本體可以實現位置、姿態調節功能,而末端手爪便是夾持需要操作的零/部件。
本文以電纜插頭/插座夾持手爪為例。設計手爪機構時應該考慮以下幾個方面的因素:①應該有適中的夾緊力,既能準確抓取,又能保證物品不損壞;②兩手指之間應該有足夠的移動范圍,張開的時候能夠滿足最大物品的直徑值;③應該有一定的強度和剛度;④適應不同尺寸,具有抓取自適應性,并保證抓取物品時自動對心;⑤結構緊湊,質量小[5]。
機械臂本體具有5個自由度,為了更加方便地實現末端手爪姿態調節,需要加上一個轉動關節,類似人手的腕關節,末端手指的開合由人手調節。由于需要夾持的有電纜插頭/插座,也有比較寬大的電路板,因此,手爪根部需要設計一個能夠更換夾頭的結構。
中國農業大學趙延軍[6]在蘋果果袋摘除機械手爪研究中采用絲杠和滑塊為主要運動部件,絲杠左右兩側分別為左旋和右旋,旋向不同。這樣,當電機運動的時候,可以驅動左右兩個分離機構同時靠攏或者分開,達到夾緊/松開的目的。該機械手爪對本文具有借鑒意義。
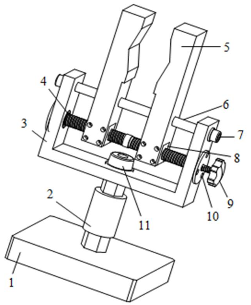
如圖4所示,末端手爪包含底座、快換接頭、U型座、雙向絲杠、頂蓋、調節旋鈕、導桿、軸承、夾塊等組成。底座采用鋼材料制成,其主要目的是配重,因為前端第三關節采用的自平衡式氣彈簧,需要一定的載重才能實現“任意位置停留”的功能。底座和末端夾爪之間借用常見結構的“自鎖快換氣動接頭”,如圖5所示,在公頭和母頭連接之間加上塑料墊片,目的是加大兩者相對轉動的阻尼。該結構在實現“快速更換”功能的同時,還可以為機械手爪增加一個旋轉自由度。底座和快換接頭之間、快換接頭和U型坐之間均采用螺紋連接。
快換接頭兩端外面均是六角頭形式,在底座上表面和U型座下表面都與之對應開有六角凹槽,快換接頭兩端都陷進底座、U型座2 mm,這樣末端夾爪轉動時不會帶動連接螺釘轉動。

1.底座 2.快換接頭 3.U型座 4.雙向絲杠 5.夾塊 6.導桿 7.螺釘 8.銅塊 9.旋鈕 10.頂蓋 11.螺釘
圖4 用于夾持電纜插座/插頭的機械手爪

圖5 添加塑料墊片的快換夾頭
U型座和夾塊采用鋁制成,導桿和雙向絲杠采用鋼材料制成。U型座開有兩排平行孔,下端孔用于安裝軸承,軸承外圈由端蓋頂住。按螺紋副摩擦性質的不同,絲杠分為滑動絲杠、滾動絲杠和靜壓絲杠三種,本文選滑動絲杠[7]。雙向絲杠為階梯軸,兩邊階梯用于頂住軸承內圈。右邊延伸一定長度用于安裝旋鈕。上端孔用于安裝導桿,導桿通過螺釘固定在U型座上。夾塊和絲杠中間采用銅塊連接,銅塊和絲杠螺紋連接,銅塊和夾塊采用螺釘連接,增加銅塊的目的是延長其使用壽命。由于該夾爪張合頻率并不高,因此,導桿和夾塊采用小間隙配合。為了抓取不同直徑大小的物體,夾塊設計有三角鉗口,鉗口角度為120°。
設計了一種電子焊接輔助機械手臂,該機械手臂能夠輕松調節末端被焊件位置和姿態,同時具有一定阻尼,能夠保持位置,滿足焊接動作的需求。整體結構如圖6所示。

圖6 電子焊接輔助機械臂整體結構
末端手爪屬于夾持式,兩個夾塊由雙向絲杠驅動,雙導軌導向并加固,導軌和絲杠的軸心線位于同一平面,操作者通過旋鈕轉動雙向絲杠,絲杠副和雙導軌的導向作用將轉動變為平動,實現夾塊的開合,并抓取被焊接件。
根據被焊接件的不同,可以設計不同的末端夾爪,通過“快換結構”實施更換。輔助機械臂通過底座連接在工作臺面上,占用空間并不大,幫助操作者很方便地實施電纜插頭/插座、電路板焊接。為了實現任意位置保持的功能,整體結構增加的阻尼措施也為其他機械手臂的設計提供參考。