什么叫深孔?深孔是指孔深與孔徑比L/d≥5的孔,是機械加工中的一道難題,尤其是大深徑比的深孔加工,難點在于刀具細長,剛性差、強度低,易引起刀具偏斜,且散熱困難,排屑不易,經常產生直徑變大、出現錐形或孔偏斜等現象,從而達不到質量要求。
本文介紹的航空發動機某噴嘴類零件,孔徑為Ф6mm,孔深為105mm,深徑比達17:1。超大的深徑比更增加了此零件的加工難度,為了加工出合格孔,需制定合理的加工方案,選擇合適的加工設備和刀具。筆者經過試件的試切加工,選擇合適的加工參數,最終確定了合理的加工方法。
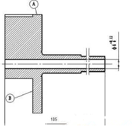
如圖1所示,某噴嘴類零件,總長為105mm,桿部內孔為φ6+0.12mm,壁厚為2mm,表面粗糙度為Ra3.2μm,深徑比為17:1,屬于深孔加工的零件,其材料為難加工的GH4169。這類高溫合金孔加工相對于一般鋼材切削加工,刀具壽命要低50%以上,且加工效率低,成本高。高溫合金孔加工主要難點是:①切削力大,消耗機床功率大;②孔加工是半封閉的切削,產生的高切削熱和切屑難以及時排出,遠離刀尖,刀具磨損更為劇烈;③用普通的鉆削方法難以保證高溫合金孔的精度要求。④高溫合金孔加工中,刀具磨損比加工普通鋼材快得多,且需要切削性能更好的刀具材料。為了解決以上加工難點,加工此深孔時,必須選擇合適的加工設備和刀具,保證零件的加工精度。

零件深孔加工選用常規的鉆削方式,需加長麻花鉆,而且要斷屑加工,不僅加工精度低、表面粗糙度差,加工效率低、操作者勞動強度大、質量難以保證,而且很容易引起堵屑或折斷鉆頭,造成更大的加工困難,因此刀具最好選擇深孔加工專用刀具。設備的選用考慮到本公司產品類型多,深孔加工產品結構差異大,且生產批量較小,不可能購置深孔加工專用機床,為了更好地保證深孔精度要求,結合工廠實際,選擇合適的加工設備來滿足深孔加工的技術要求。
1.刀具的選擇
深孔加工的刀具有多種,如槍鉆、噴吸鉆、套料鉆、硬質合金可轉位深孔鉆、內排屑深孔鉆和亞干式深孔加工系統等類型。
噴吸鉆適用于經改裝的車床、臥式加工中心,易加工工件材料;套料鉆、內排屑深孔鉆的鉆孔直徑不適合鉆加工Ф6mm的小孔;硬質合金可轉位深孔鉆一般最小鉆削直徑為Ф20mm;而亞干式深孔加工系統主要是利用壓縮空氣進行排屑和冷卻,使用霧化切削液進行潤滑,需專用的加工設備,不適合本廠的加工情況。而槍鉆適用于加工Ф2~Ф20mm、長徑比L/D>100、表面粗糙度Ra6.3~Ra0.4μm、精度H7~H10級的深孔。
經對上述幾種深孔加工刀具的對比及本廠的實際情況,研究決定采用槍鉆進行此深孔的加工。槍鉆的基本結構如圖2所示。槍鉆由硬質合金鉆尖、鉆桿和刀柄三部分組成。槍鉆鉆尖上開有油孔,以加強鉆頭冷卻潤滑和使切屑順利排出,并選擇韌性和抗振性均較佳的硬質合金作為基體,表面可涂TiC或TiN,以提高鉆頭的硬度和耐磨性;鉆桿一般選用40Cr無縫鋼管。其原理是高壓油由鉆桿后部中孔注入,經腰形孔到達切削區后迫使切屑隨切削液由V型槽與工件孔壁間空間排出,故稱外排屑。此類深孔鉆前角一般為0°,以便制造。它無橫刃,鉆尖偏離軸線,鉆孔時鉆尖前方形成小圓錐,可使切屑在鉆尖處斷離為兩段,使之較易排出。
2.設備
槍鉆是用
來鉆削回轉工件中心上的孔,加工時,通常是工件旋轉,鉆頭作直線進給,較適用于加工中心及配備高壓冷卻系統的車床與立式機床、刀具或工件旋轉場合。綜合考慮槍鉆加工的應用場合及公司現有設備情況,在此零件加工時,筆者選擇了車銑復合加工中心,此設備既可實現零件旋轉,又配備高壓內冷系統,滿足槍鉆的應用場合。可以進行鉆孔加工。
3.槍鉆引導孔加工
槍鉆屬于非平衡鉆頭,不平衡的槽形意味著切削力不平衡。為了減少鉆頭周邊的徑向切削力,需要靠導套或引導孔分擔。典型的槍鉆機床上配有槍鉆引導套,而本例所選的車銑加工中心不是槍鉆專用機床,沒有配備導套,且沒有夾具,無法設計導套。因此,筆者考慮用鉆削引導孔的方式來平衡槍鉆切削力。通過大量實驗數據得出:槍鉆引導孔的深度應為1~2倍槍鉆直徑,直徑應比槍鉆鉆頭直徑大0.004~0.012mm較合適。
4.工藝試驗與分析
深孔加工工序草圖如圖3所示,由圖3可知,用軟三爪裝夾,以定位,夾緊,按車端面→鉆導向孔→鉆深孔的順序進行零件的深孔加工。鉆導向孔時,以不同廠家的鉆頭按不同切削參數進行試驗加工;鉆深孔時,我們選擇了伊斯卡的槍鉆,以不同的加工方法和不同的切削參數進行了多個孔的鉆削試驗。
(1)引導孔加工。鉆引導孔時,在滿足槍鉆引導作用的前提下,筆者也兼顧了刀具成本問題,分別選擇進口的伊斯卡中空內冷合金鉆頭和國產的四平合金鉆頭進行了試切加工。經過多個孔的試驗加工,發現進口刀具切削參數比國產刀具要高許多,轉速可以達到2500r/min,進給率為50mm/min,而且較耐磨損,但費用較高;國產刀具的切削參數偏低,轉速為600r/min,進給率僅為20mm/min,加工效率遠低于進口刀具,費用同樣遠遠低于進口刀具的費用。經試驗,兩種刀具的加工質量相似。因為此零件的批量小且加工件數少,在滿足加工質量的前提下,我們選擇了費用較低的四平合金鉆頭。
(2)深孔加工。深孔加工我們采用了兩種加工方案進行試驗加工:一種是進入導向孔和退出深孔時,均采取小于鉆削時轉數和進給率的方法進行深孔加工;另一種是以較低轉數和進給率反轉進入導向孔,以零轉數和G0的速度快速退出深孔的加工方法。經過試驗加工發現:第一種加工方法加工效率低且零件表面質量差,而第二種加工方法,加工效率高且質量較好。因此,在保證足夠冷卻壓力的情況下,選擇第二種加工方法進行了刀具壽命試驗。試驗過程中發現,1把槍鉆加工到第4件零件時,加工聲音異常,于是調低進給倍率為90%,繼續加工,可順利完成第4件和第5件的加工,但加工到第6件時,加工到孔深78mm時,鉆頭折斷。經過試驗,在調低進給倍率的情況下,1把槍鉆最多加工5件零件,可防止鉆頭折斷。
在某些加工范圍內,槍鉆能解決麻花鉆不能解決的深孔和高精度孔加工問題,可鉆出一個直線度高、表面粗糙度好的孔。而且在固定所有因素,如主軸轉速、進給速度和冷卻液壓力后,深孔鉆這個工序便成為一個簡易的“標準”工序,不受操作員技術的影響,只要是一個高質量的槍鉆便可在生產過程中提供一致的表現。它不僅適用于專用槍鉆機床,同時在高壓內冷和導向滿足的情況下也適用于車銑復合加工中心和數控車床,經濟適用性強,有一定的推廣價值。